巫嬢土豆VS巫道珍土豆! 你到底吃的是哪个“巫”?
来源:未知 作者:北新律师事务所 发布时间: 2021-12-24 197次浏览
方圆几十公里内的土豆爱好者想必都还是知道我们大新都,有一个公园路,公园路有一个59号,59号那家土豆店。用心的爱好者可能会留意到那个店招从“巫孃土豆” 改成了“巫道珍土豆”?奇了个怪,味道还是那个味道,但咋个就改名了呢?做生意的难道不是最重视商号了这些蛮,难不成里面是有什么不可描述的隐情么?

方圆几十公里内的土豆爱好者想必都还是知道我们大新都,有一个公园路,公园路有一个59号,59号那家土豆店。用心的爱好者可能会留意到那个店招从“巫孃土豆” 改成了“巫道珍土豆”?奇了个怪,味道还是那个味道,但咋个就改名了呢?做生意的难道不是最重视商号了这些蛮,难不成里面是有什么不可描述的隐情么?

    来,跟着小编的脚步,我们从时间线一点点来解密!



1

王克挺注册:巫孃土豆商标



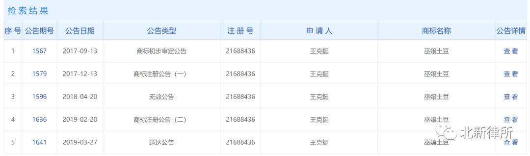
  2016年10月26日,“巫孃土豆”被申请注册35类(广告销售)、43类(餐饮住宿)商标

  申请人:王克挺

  申请地址:四川省成都市新都区新都兴乐南路1号36栋1单元8楼1号

  2017年9月13日,此商标初审公告

  20171213日,此商标注册公告(一)(期间被无效)

图片

图片

 

    此商标期间被无效,2018420日商标局撤回此商标注册公告(一);

    2019220日,此商标注册公告(二)(准予注册)

图片




2

法律条款看这里




   《商标法》第三十一条:两个或者两个以上的商标注册申请人,在同一种商品或者类似商品上,以相同或者近似的商标申请注册的,初步审定并公告申请在先的商标;同一天申请的,初步审定并公告使用在先的商标,驳回其他人的申请,不予公告。

 

    根据《商标法》第三十一条,商标注册以在先申请为原则,以在先使用为补充。由于王克挺在2016年提出了“巫土豆”商标注册,根据《商标法》第五十九条第三款:商标注册人申请商标注册前,他人已经在同一种商品或者类似商品上先于商标注册人使用与注册商标相同或者近似并有一定影响的商标的,注册商标专用权人无权禁止该使用人在原使用范围内继续使用该商标,但可以要求其附加适当区别标识。


    



3

注册:巫道珍土豆商标



    所以新都人儿时记忆中的那个巫孃土豆招牌(对,就是你我TA去过念念不忘的那家))只能在原有的范围内使用。我们猜想,为小伙伴们呈现出美味土豆片的巫孃可能是为了避免商业误导和其他吧,在2017年9月20日注册“巫道珍土豆”(43类:餐饮住宿)。




4

案例警示



   万众创新的今天,各位大小老板们,做生意之前,可一定要提前做好商标(保护)布局规划噢!

    如果要申请专利、商标、著作权登记,或者有遇到知识产权上的问题,联系我们的专业律师团队。




撰稿:徐林天俊                    审核:何涛


028-6160-4513

相关推荐

联系电话:

四川北新律师事务所

SICHUAN BEIXIN LAW FIRM

联系电话:028-61604513

联系地址:成都市新都区马超东路266号和信新城市中心5楼504、505、506、507室


了解更多法律资讯


版权所有 四川北新律师事务所  保留一切权利   蜀ICP备2022004036号-1  部分图片来自网络 如有侵权请联系删除